Microsoft Store employee claims a Microsoft-branded phone is launching soon
Microsoft pulled the plug off its mobile OS – Windows 10 Mobile last year with Windows 10 Creators Update being the last major OS release in conjunction with the desktop build....
Twitter’s old UWP app stops working on Windows 10
Twitter this week ended support for its old UWP app for Windows 10. If you're on a device that runs Windows 10 version 1709, Windows 10 Mobile and older, your Twitter...
Steps to increase the speed of Windows 10 Mobile Device
Is your Windows 10 Mobile getting slow? Do you often see the loading-resuming screen in your Windows 10 Mobile? We have some tips to increase the speed of your Windows 10 Mobile...
Microsoft Andromeda rival ‘Galaxy X’ foldable phone to use plastic display
Not only Microsoft but Samsung, Huawei, and Apple are also testing foldable mobile devices. Microsoft's Andromeda (not the Surface Phone) is rumored to feature a foldable body and display, the device...
This Surface Phone concept with refined version of Windows 10 Mobile looks stunning
A Windows Phone user has created a new concept of Surface Phone. The concept also shows an improved version of Windows 10 Mobile. He has created a concept of how Windows...
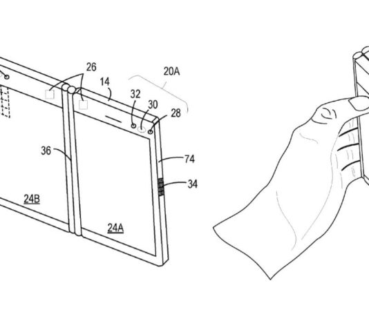
Microsoft’s patent shows off apps running on dual screen Windows 10 device
Microsoft has patented yet another foldable mobile device that has two displays attached together with a hinge. Unlike other patents, this one shows off apps running on two displays.
The number of...
Windows 10 Mobile Redstone 2 to have new notification sound claims leaked video
Microsoft could be rolling out the first Windows 10 Mobile Redstone 2 build to Windows Insiders pretty soon. For those who don't know, Windows Redstone 2 update is supposed to include...
How To Use Glance Screen On Windows 10 Mobile
Glance screen is a unique feature similar to ambient display features in Nexus and Motorola phones on Android. It has been available for many Nokia Lumia phones, such as Lumia 1020,...
This new Surface Phone concept is absolutely stunning, but sadly, it doesn’t exist
Microsoft is working on the Surface Phone for a while now. Many rumours have revealed that the Surface Phone is going to be a beast. Windows Phone enthusiastic have published many...
Bread Player for Windows 10 Mobile and PC is a innovative and creative music...
Bread Player is a new music player for Windows 10, available on PC, Mobile and even HoloLens. Bread is an innovative and creative music player with interesting features and buttery-smooth UI....






























