Windows 11 is getting a new feature that triggers a haptic (vibration) effect for the trackpad or a supported mouse when you snap windows. When the news broke, it made me wonder if Microsoft had patented an advanced haptic trackpad for the Surface lineup, and turns out I was right. Microsoft has a patent for a device with a “haptic-sonic” trackpad. This could be the first mic-aware trackpad in the industry.
As first spotted by Windows Latest, a patent application titled “Computing device with haptic trackpad” shows off Surface Laptop-like devices with a new sonic-haptic trackpad, but Microsoft insists the new technology is not just for laptops. For example, Windows Latest spotted references to a “foldable” computing device with this haptic trackpad.

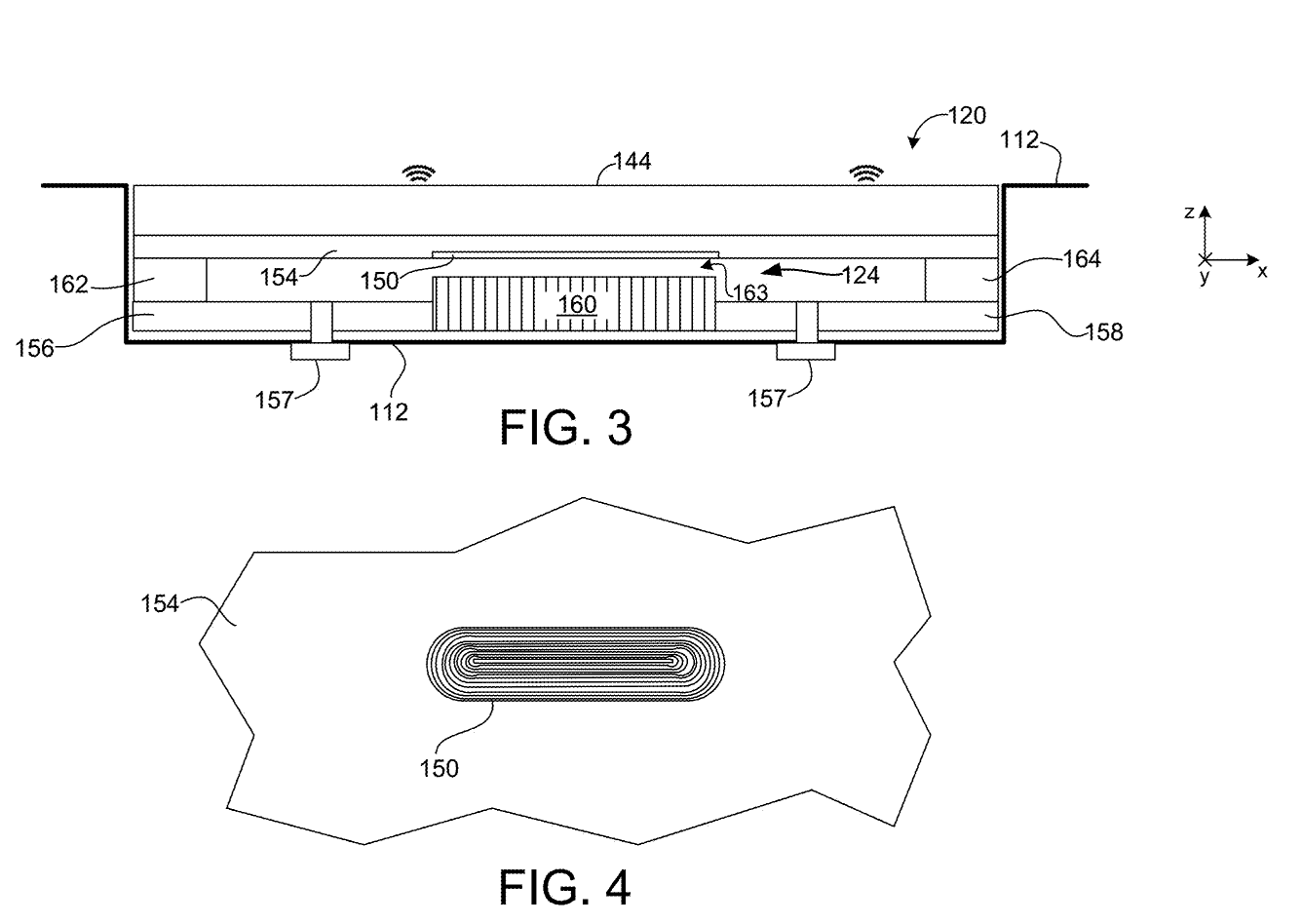
How Microsoft could use a new sonic-haptic touchpad on a foldable device is a mystery, but we know how it’s going to work on a regular laptop, thanks to the patent. But before I talk about how the upcoming haptic trackpad will be mic-aware, we need to understand what makes a haptic trackpad special.
What is a haptic trackpad or mouse?
Traditionally, a laptop’s trackpad physically pushes down when you press the surface to click or right-click. While it’s not an issue, it’s not the best experience. On the other hand, a haptic trackpad does not physically press down. Instead, flagship laptops use haptic feedback motors to provide a “click” vibration anywhere on the trackpad’s surface.
Up until now, Windows 11’s haptic work has mostly been simple. You will feel small vibrations for clicks, taps, and soon UI actions on a haptic trackpad or mouse.
Microsoft’s patented trackpad uses a mic to tune haptic vibration, and even enables cross-device integration
Windows Latest found that Microsoft wants to use the laptop’s microphone as a sensor to listen to the trackpad while the haptic kicks in. This will enable Windows to automatically tune the haptic, and improve its performance (sensitivity) if the “click” sound detected by the built-in laptop mic does not meet expectations.

In the above diagram, we’re looking at a “haptic-sonic” trackpad that doesn’t just vibrate, but also listens to itself using the laptop’s microphone. The system compares the sound of each click with a “perfect” reference and then automatically adjusts the vibration so the trackpad always feels and sounds right, even as the hardware ages or the chassis changes.
How Microsoft could use Windows 11, mic, and haptic trackpad to improve UX
When you touch the trackpad, it produces a “click” sound using the haptic motor, and the microphone records that sonic output. Then, Windows 11 or the firmware will compare it against the “target” sonic sound. This means the device will come with a stored reference sound, and the comparison would tell us how a healthy, perfectly tuned trackpad should sound or feel.
If Windows detects that the trackpad is not really giving the best experience based on the sonic output analysed by the microphone, it will try to adjust the hardware and allow the haptic trackpad to perform better.
Now, if the firmware detects that the “sonic” produced when you tap on the trackpad is “wrong” in certain ways, it can decide the haptic actuator is failing or degraded, and then it will fall back to speakers. This is a very interesting idea, and it’s not yet explored by Apple or other tech giants.
“Cross-device” integration for Windows haptic signals could really challenge Apple’s Force Touch
I’ve been reading the patent for a week, and I noticed how Microsoft has a plan to turn the haptic trackpad into a cross-device tech.
First, the laptop’s mic records the trackpad’s clicks. As I mentioned, this allows Windows to fine-tune the haptic feature by adjusting its sensitivity. Once the system knows this, every vibration in Windows becomes a general “haptic event” instead of being locked to one device. The OS can then decide, in the background, whether to play that vibration on the trackpad, a haptic mouse, a controller, or some other connected gadget.

If the trackpad is fine, it clicks as usual. If it starts to fail, the same haptic pattern can quietly move to another device, or even fall back to sound. For you, this means Microsoft wants to build a long-lasting ‘trackpad’ experience.

This patent is pushing in a direction where a mic and speaker can be used to power the trackpad’s sound when interacting with UI-based actions, and we haven’t seen Apple or any company publicly ship something as interesting as this.
As Phantom on X noted, Windows 11 is already testing “haptic signals,” i.e subtle vibrations when you snap windows, align objects, and more. Could one of these patented devices make use of the upcoming feature? Only time will tell.

























